Prekių katalogas
Teleskopinis cilindras TC 3065 TC3065
Prekės kodas: K118721
Pasiteirauti apie prekę
Teleskopinis cilindras TC 3065 TC3065
422,24 €
Užklausa nusiųsta
Pasistengsime Jums atsakyti kuo greičiau.
Teleskopinis cilindras TC 3065 TC3065
Prekės kodas: K118721
422,24 €
su PVM
Pristatymo būdai:
-
Atsiėmimas parduotuvėje
Lakūnų pl. 81, Kaunas
NEMOKAMAI -
Pristatymas į paštomatus
Į pasirinktą paštomatą Jūsų mieste
nuo 3.99€ -
Pristatymas kurjeriu
Į bet kurią Lietuvos vietą
nuo 5.99€
Prekės aprašymas
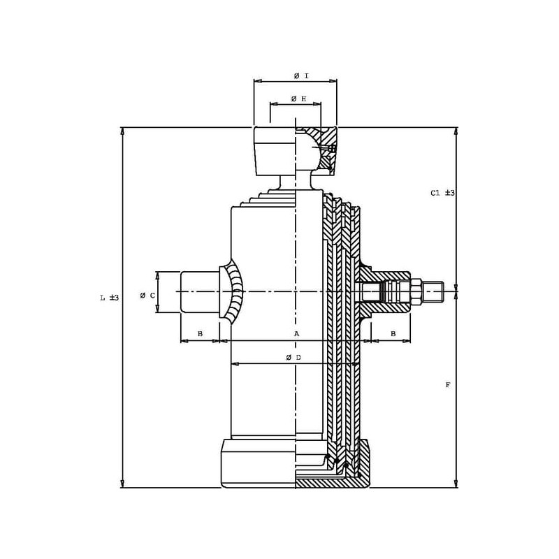
Dalies numerisTC3065
EAN
VienetasKiekvienas
Prekės ženklasDi Natale-Bertelli
Išsamus aprašymasTeleskopiniai cilindrai 4 pakopų
Išsami informacijaTenifer TF1 danga
Taikymo sritisPriekabos išvertimo cilindrasTransporto priemonės konstrukcija
SavybėsNedažytasMažai montavimo matmenysPuikios eksploatacinės savybėsIlgas tarnavimo laikas
Taikymo kategorijaTeleskopinis
Maksimali galia esant 180 barų slėgiui11,7 t
Eiga1050 mm
LMin. ilgis425 mm
Pakopų skaičius4
Tvirtinimo tipas - cilindro jungtisTrunnion
Tvirtinimo tipas - strypo jungtisRutulis
Maks. Darbinis slėgis 180 BAR
Alyvos talpa 4,3 l
1 etapo skersmuo 46 mm
2 etapo skersmuo 61 mm
3 etapo skersmuo 76 mm
4 etapo skersmuo 91 mm
Maksimalus našumas – etapas 25,2 t
Maksimalus našumas – etapas 38,1 t
Maksimalus našumas – etapas 411,7 t
Maks. Stūmoklio greitis 0,5 m/s
HTvirtinimo angos skersmuo – strypo jungtis 45 mm
Tvirtinimo angos skersmuo – cilindro jungtis 40 mm
Šoninio veleno skersmuo 35 mm
Išorinis skersmuo 112 mm
Stūmoklio paviršiaus šiurkštumo diapazonas 0,05–0,15 µm
Vikerso kietumas (HV) HV5/12 = 500/550
FTvirtinimo angos centro iki cilindro galo atstumas 280 mm
Cilindro medžiaga Plienas S355J2+N
Svoris 25,5 kg
IMontavimo įvorės išorinis skersmuo 112 mm
Alyvos jungties sriegio tipas Metrinis
Alyvos jungties sriegio skersmuo M18
Alyvos jungties sriegio žingsnis 1,50 mm
BOlyvos jungties ilgis 40 mm
C1Alyvos jungties atstumas iki strypo galo 145 mm
Sandarinimo medžiaga Poliuretanas
DIN standartas1629
[]
EAN
VienetasKiekvienas
Prekės ženklasDi Natale-Bertelli
Išsamus aprašymasTeleskopiniai cilindrai 4 pakopų
Išsami informacijaTenifer TF1 danga
Taikymo sritisPriekabos išvertimo cilindrasTransporto priemonės konstrukcija
SavybėsNedažytasMažai montavimo matmenysPuikios eksploatacinės savybėsIlgas tarnavimo laikas
Taikymo kategorijaTeleskopinis
Maksimali galia esant 180 barų slėgiui11,7 t
Eiga1050 mm
LMin. ilgis425 mm
Pakopų skaičius4
Tvirtinimo tipas - cilindro jungtisTrunnion
Tvirtinimo tipas - strypo jungtisRutulis
Maks. Darbinis slėgis 180 BAR
Alyvos talpa 4,3 l
1 etapo skersmuo 46 mm
2 etapo skersmuo 61 mm
3 etapo skersmuo 76 mm
4 etapo skersmuo 91 mm
Maksimalus našumas – etapas 25,2 t
Maksimalus našumas – etapas 38,1 t
Maksimalus našumas – etapas 411,7 t
Maks. Stūmoklio greitis 0,5 m/s
HTvirtinimo angos skersmuo – strypo jungtis 45 mm
Tvirtinimo angos skersmuo – cilindro jungtis 40 mm
Šoninio veleno skersmuo 35 mm
Išorinis skersmuo 112 mm
Stūmoklio paviršiaus šiurkštumo diapazonas 0,05–0,15 µm
Vikerso kietumas (HV) HV5/12 = 500/550
FTvirtinimo angos centro iki cilindro galo atstumas 280 mm
Cilindro medžiaga Plienas S355J2+N
Svoris 25,5 kg
IMontavimo įvorės išorinis skersmuo 112 mm
Alyvos jungties sriegio tipas Metrinis
Alyvos jungties sriegio skersmuo M18
Alyvos jungties sriegio žingsnis 1,50 mm
BOlyvos jungties ilgis 40 mm
C1Alyvos jungties atstumas iki strypo galo 145 mm
Sandarinimo medžiaga Poliuretanas
DIN standartas1629
[]
Savybės
K118721
Garantija
Paslaugos teikimo sąlygos:
- Prekės, esančios tos pačios fizinės parduotuvės sandėlyje, bus paruoštos per 1-3 darbo dienas nuo užsakymo patvirtinimo.
- Prieš užsisakant prekę, perskaitykite specifikaciją ir kitą informaciją.
- Jei prekė yra skirtinguose sandėliuose, pristatymo laikas gali būti pratęstas iki 7 darbo dienų.
- Dėl išsamesnės prekių pristatymo informacijos teiraukitės info@perlitas.lt arba +370 37 298239. Grąžinimas, keitimas, pristatymas
- Šventinių dienų ir iškirtinių akcijų laikotarpiu (pvz.: Šv. Kalėdos, Black Friday) prekių pristatymas dėl didelio kurjerių užimtumo gali pailgėti 2-5 d. d.;
- Prekių pristatymas vykdomas darbo dienomis (I-V), 08:00 – 17:00 val.;
- Dieną prieš prekės pristatymą informuojama sms žinute apie prekės išsiuntimą, statuso pasikeitimą;
- Pristatymo dieną apie siuntos pristatymo laiką 1 val. tikslumu informuojama SMS žinute;
- Kai prekės bus išsiūstos iš Mūsų sandėlio, Jūs gausite siuntos sekimo numerį.
- Prekių nuotraukos, pakuotės spalva, komplektacija ir forma gali skirtis nuo realios prekės išvaizdos.
Prekių pristatymas Lietuvoje, Latvijoje, Estijoje.
Prekes galite atsiimti mūsų parduotuvėje Kaune adresu: Lakūnų pl. 81, Kaunas (Aleksotas)
Prekių pristatymas - Dalių
Paslaugos teikimo sąlygos:
- Prekės, esančios tos pačios fizinės parduotuvės sandėlyje, bus paruoštos per 1-3 darbo dienas nuo užsakymo patvirtinimo.
- Prieš užsisakant prekę, perskaitykite specifikaciją ir kitą informaciją.
- Jei prekė yra skirtinguose sandėliuose, pristatymo laikas gali būti pratęstas iki 7 darbo dienų.
- Dėl išsamesnės prekių pristatymo informacijos teiraukitės info@perlitas.lt arba +370 37 298239. Grąžinimas, keitimas, pristatymas
- Šventinių dienų ir iškirtinių akcijų laikotarpiu (pvz.: Šv. Kalėdos, Black Friday) prekių pristatymas dėl didelio kurjerių užimtumo gali pailgėti 2-5 d. d.;
- Prekių pristatymas vykdomas darbo dienomis (I-V), 08:00 – 17:00 val.;
- Dieną prieš prekės pristatymą informuojama sms žinute apie prekės išsiuntimą, statuso pasikeitimą;
- Pristatymo dieną apie siuntos pristatymo laiką 1 val. tikslumu informuojama SMS žinute;
- Kai prekės bus išsiūstos iš Mūsų sandėlio, Jūs gausite siuntos sekimo numerį.
- Prekių nuotraukos, pakuotės spalva, komplektacija ir forma gali skirtis nuo realios prekės išvaizdos.
Prekių pristatymas Lietuvoje, Latvijoje, Estijoje.
Prekes galite atsiimti mūsų parduotuvėje Kaune adresu: Lakūnų pl. 81, Kaunas (Aleksotas)
Prekių pristatymas - Technikos
Paslaugos teikimo sąlygos:
- Prekės, esančios tos pačios fizinės parduotuvės sandėlyje, bus paruoštos per 1-3 darbo dienas nuo užsakymo patvirtinimo.
- Prieš užsisakant prekę, perskaitykite specifikaciją ir kitą informaciją.
- Jei prekė yra skirtinguose sandėliuose, pristatymo laikas gali būti pratęstas iki 7 darbo dienų.
- Dėl išsamesnės prekių pristatymo informacijos teiraukitės info@perlitas.lt arba +370 37 298239. Grąžinimas, keitimas, pristatymas
- Šventinių dienų ir iškirtinių akcijų laikotarpiu (pvz.: Šv. Kalėdos, Black Friday) prekių pristatymas dėl didelio kurjerių užimtumo gali pailgėti 2-5 d. d.;
- Prekių pristatymas vykdomas darbo dienomis (I-V), 08:00 – 17:00 val.;
- Dieną prieš prekės pristatymą informuojama sms žinute apie prekės išsiuntimą, statuso pasikeitimą;
- Pristatymo dieną apie siuntos pristatymo laiką 1 val. tikslumu informuojama SMS žinute;
- Kai prekės bus išsiūstos iš Mūsų sandėlio, Jūs gausite siuntos sekimo numerį.
- Prekių nuotraukos, pakuotės spalva, komplektacija ir forma gali skirtis nuo realios prekės išvaizdos.
Prekių pristatymas Lietuvoje, Latvijoje, Estijoje.
Prekes galite atsiimti mūsų parduotuvėje Kaune adresu: Lakūnų pl. 81, Kaunas (Aleksotas)
Susijusios prekės
Parduotuvė Kaune
-
I-V: 08:00 – 17:00
VI: 10:00 – 14:00
VII: Nedirbame